Accesso al pannello di amministrazione dell'eshop >> (Questo messaggio lo vedi solo tu!)

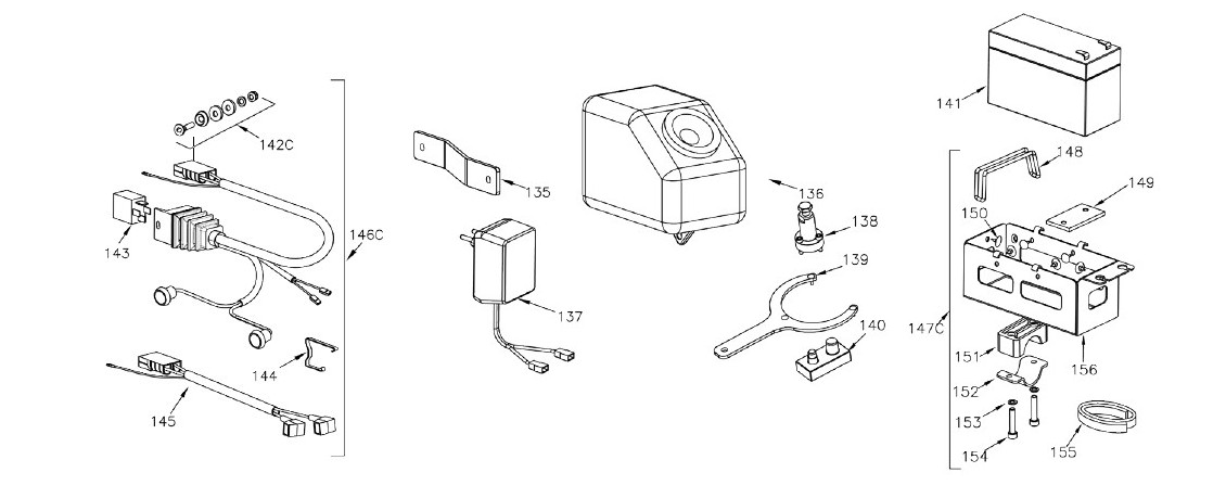
IMPIANTO ELETTRICO MINI ROK

Stai visualizzando 4 prodotti | Ordina per:

Le recensioni dei nostri clienti

Vedi tutti i feedback