Accesso al pannello di amministrazione dell'eshop >> (Questo messaggio lo vedi solo tu!)

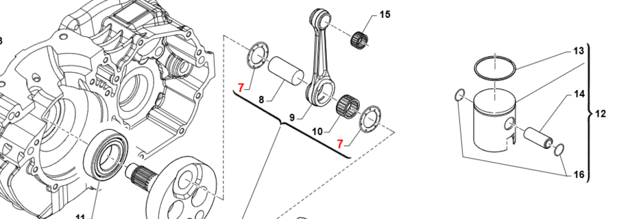
RONDELLA ARGENTATA Ø 22,2 X 35,1 X 1 mm SMUSSATA

7,80
8,70

RICAMBIO ORIGINALE

 IN FIGURA N. 7

Continua lo shopping! scopri altri prodotti della sezione albero motore e pistone tm kz-r2

Le recensioni dei nostri clienti

Vedi tutti i feedback